Порог автоматический Sipam 101SF
Порог автоматический Sipam 101SF
Информация о товаре
Автоматический выпадающий порог Sipam 101SF
Звукоизоляционный автоматический порог Sipam, модель 101SF
Запатентованный механизм со стальными плоскими пружинами
Для одностворчатых и двустворчатых деревянных, алюминиевых, пластиковых, металлических, а также раздвижных и складных дверей.
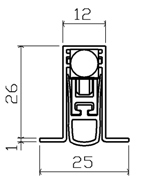
Технические параметры звукоизоляционного автоматического выпадающего порога Sipam, модель 101SF
Цена: стоимость указана за порог для дверного полотна шириной 800 мм
Уплотнитель: дымонепроницаемый и огнестойкий
Производитель: Италия
Ход: до 12 мм
Материал: Силикон
Длина: 430, 630, 830, 1030, 1230, (1430, 1500 под заказ) мм (возможность подрезки под нужный размер двери до 200 мм)
Приведение в действие: с одной стороны, сторона петель
Шумопоглощение: 47 дБ
Материал профиля: алюминий 12х27 мм
Материал уплотнителя: Уплотнитель само затухающий (UL 94 HB)
Настройка хода: Упорная кнопка из латуни, регулируется отвёрткой
Гарантия: 1 млн. циклов ( 1 000 000 )
• Отсутствие трения по полу
• Самовыравнивание на наклонном полу
• Одна ширина паза для всех требований
Описание звукоизоляционного автоматического противопожарного порога Sipam, модель 101SF
Любое изделие имеет определённые стандарты, к которым стремятся все фабриканты.
▪ Изящность внешнего вида.
▪ Способность вписаться в интерьер.
▪ Экологическая безопасность.
▪ Покрытие, невосприимчивое к загрязнениям.
▪ Антистатические свойства.
▪ Антиаллергические свойства.
▪ Огнеупорное покрытие.
▪ Невосприимчивость к климатическим перепадам.
▪ Влагоотталкивающие свойства.
▪ Эластичность.
▪ Шумопоглощающие свойства.
▪ Лёгкость в сборке.
▪ Простота ухода.
▪ Использование замковых соединений.
Автоматизация производства позволяет решить эти задачи.


